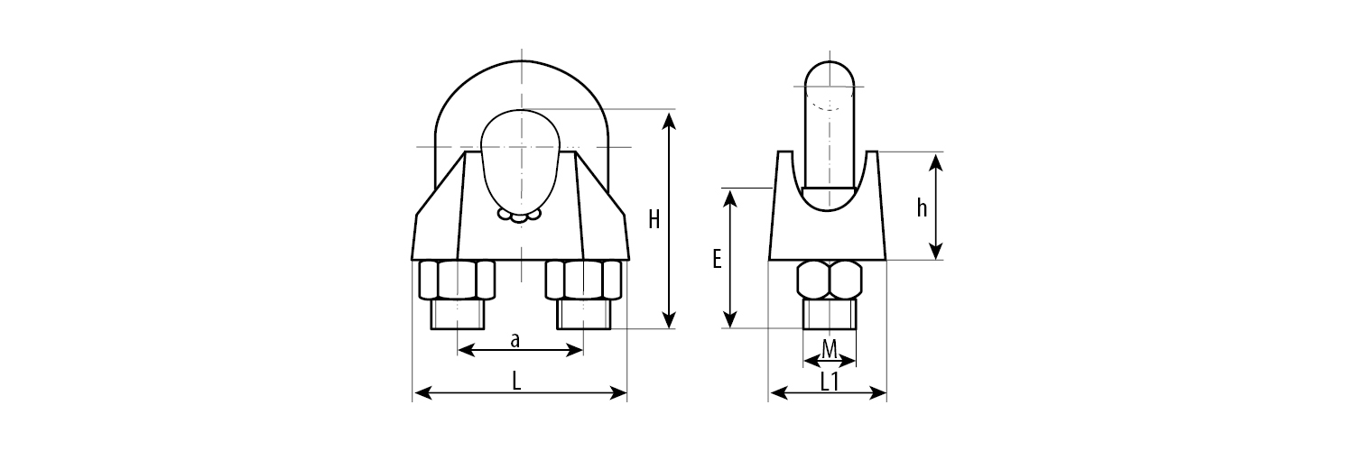
Характеристики
Описание
Грузовой крепеж предназначен для фиксации и перемещения грузов с помощью цепей и тросов в различных грузоподъемных механизмах и устройствах. Обладает повышенной прочностью и стойкостью к износу, выдерживает значительные нагрузки без деформации. Зажим изготовлен по стандарту DIN 741, служит для крепежа и фиксации тросов в различных конструкциях, не подверженных значительным силовым нагрузкам.
Преимущества
- Надежная фиксация петли троса
- Литой корпус
- Цинковое покрытие надежно защищает от коррозии.
Использование
Для формирования петель на концах троса. Используются на тросах без оплетки ПВХ (если трос имеет оплетку, ее необходимо снять перед установкой зажима). Свободный конец троса закладывается в зажим (конец троса должен выходить из зажима на расстояние не менее 1/2 диаметра троса). Далее в петлю троса закладывается коуш, после которого трос помещается в зажим с другой стороны отверстия. Сверху помещается прижимная скоба, которую небходимо крепко зафиксировать с помощью гаек. Свободный конец троса рекомендуется обмотать изолентой для предотвращения разматывания троса после установки. Перед использованием необходимо убедиться, что гайки на зажимах закручены полностью. Рекомендуемое расстояние между зажимами равно шестикратному диаметру троса. Минимальное количество зажимов - 3 шт.

